Termostat TH 221

Termostaty TH220, TH221 jsou teplotně závislé jed­nopólové spínače, určené k regulaci teplot v plynném prostředí, např. v kanálech topného vzduchu teplo­vzdušného topení nebo v jiných uzavřených prosto­rách s velkou vlhkostí a prašností. Lze je použít i pro chladicí a klimatizační účely, ve spojení s elektrickými ventily pro regulaci při parním nebo vodním vytápění a dále jako teplotní čidla ve vytápěném prostoru. Základem termostatu je spolehlivý mechanický systém, který nemá žádnou vlastní spotřebu energie. Termostaty se vyzna­čují vysokou odolností proti mechanickému poškození a nízkými náklady na provoz a údržbu.

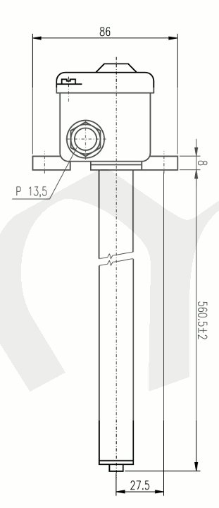
Popis
Termostat sestává ze spínací hlavice a teplotního čidla. Teplotně citlivý element je stonek, tvořený mosaznou trubkou, jejíž dilataci přenáší na spínací mechanismus invarová tyč. Spínací mechanismus tvoří mžikový jednopólový přepínač. Stupnice vypína­cích teplot je označena přímo na regulačním knoflíku. Spínací ústrojí termostatu je uzavřeno v hlavici. Montáž termo­statu se provádí dvěma šrouby za patky na hlavici termostatu. Při montáži je nutno zajistit, aby stonek nebyl mechanicky namáhán. Při použití termostatu na zařízeních s otřesy je nutno stonek na volném konci uchytit, ovšem tak, aby mohl dilatovat, a dále je nutno nastavenou teplotu zaaretovat dotažením aretačního šroubu. Pro spínání stejnosměrného prou­du jsou kontakty přemostěny kondenzátory.

Přednosti
- vysoká citlivost
- odolnost proti vlhkému a prašnému prostředí

Technické údaje

Regulační rozsah

-20 °C až +60 °C

Diference spínací teploty

1-3 K

Přesnost nastavení

±5 % z nejvyšší hodnoty jmenovité vypínací teploty

Jmenovité napětí, proud

60V, 1A ss; 120V, 0,5 A ss (TH-220)
250V, 15A st (TH-221)

Délka stonku

560 mm

Hmotnost

cca 0,8 kg

Krytí

IP 44

Odolnost vnějším vlivům

hlavice odolná vlivům třídy AB7, AE3, AM1, AN1, BE1

Dovolená teplota hlavice

120 °C

Dovolená teplota stonku

140 °C

Životnost

10 000 cyklů

 

Parametry výrobku:

Regulační rozsah -20..+60 °C
Délka stonku 560 mm
Ke stažení: Termostaty_TH220_TH260_TH810_Eximus.pdf
Cena: 1684 Kč (bez DPH)
Cena: 2038 Kč včetně DPH 21 %
Do košíku

Id: 1521,   ID_Pohoda : 1885,